The Polyphonic Music Revolution
Until about 1930, only mechanical processes could be used to produce sounds (percussion, string or wind instruments). The invention of the triode in 1906 (vacuum tube with three electrodes) allowed the development of all kinds of electronic devices. We knew how to artificially create music by using alternating currents, that is to say, electronic oscillations, generated either mechanically (alternators with musical frequency), or also by tube oscillators, or even by cells photoelectric acting on a loudspeaker “motor”.
Small Historical Summary
In 1927 Pierre TOULON and Krugg BASS invented the Cellulophone, an electric musical instrument that uses a photoelectric sound generator with an optical disc (celluloid disc pierced with slots).

In 1928 the patent for the first model “Ondes-Martenot” was registered (lamp oscillator).

In 1929, with 700 tube oscillators, for 70 notes and 10 timbres, two French engineers Armand GIVELET and Edouard Eloi COUPLEUX developed an electronic organ using more than 1000 tubes. It is the first fully polyphonic instrument.
In 1938 Jerome MARKOWITZ files the first patent (US Patent) for the stable oscillator.

The Schmitt trigger invented by Otto H. SCHMITT was then the most widespread generator because it was quite easy to make.

Diagram of the thermion trigger of Otto H. SCHMITT
The simple two-triode circuit that is described provides positive stop control with any desired differential from 0.1 volts to 20 volts. Less than 10 -6 A is required at the input, but up to 20 mA at 200 V is available at the output. The output can be taken on either triode; one is on while the other is off. Positive or negative control is possible. The operating cycle takes approximately 10 µs.
New Synthetic Organs
From 1935 two very sophisticated instruments enriched the range of organs intended to replace the bulky and expensive sound titans, which boast the galleries of cathedrals. These two remarkable newcomers are the Welte photoelectric organ made in Germany and the Hammond electromagnetic organ built in the United States.
The Hammond electromagnetic organ, in particular, is able to perform at the discretion of the performer a practically unlimited number of combinations of timbres, thus allowing the musician to really “create” the sounds suggested by his musical inspiration and not only combine the few fixed timbres of the classical orchestra.
It was, for the time, a whole revolution in the field of polyphonic music that already announced the constant progress of sound synthesis by purely electric processes, thus achieving a “symbiosis” of science and art.
“WELTE” Organ

The Welte-Lichtton-Orgel, designed by Edwin WELTE in Germany between 1932 and 1935, was one of the ancestors of the electronic organ, operating using optoelectronic sound generators.
The operating principle consists of spinning, at a constant speed, glass discs printed in the manner of the optical soundtracks of the first talking cinema.
These glass trays are printed with 18 different waveforms giving three different timbres for all the octaves of each note.
A sensor consisting of a photoelectric cell is placed in front of each track and captures the variations in light from a light source located on the other side of the disc. The variations are then amplified and reproduced on a loudspeaker.

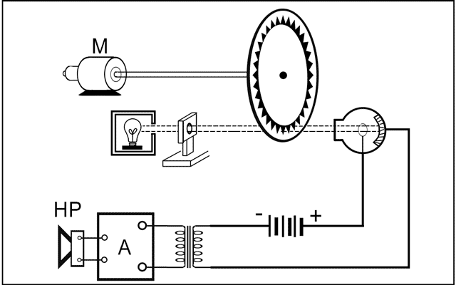
“HAMMOND” Organ
The Hammond organ works by electromagnetism.
The generators making up this organ are also extremely simple. They are toothed wheels rotating in front of sensors made up of coils with soft iron cores equipped with a magnet. An axis driven by a synchronous motor carries cogwheels from 2 to 192 teeth.

When passing in front of the sensor, the teeth of a wheel cause the latter to change its magnetic state. This modification induces an alternating current in the coil, the frequency of which is determined by the number of teeth passing per second in front of the end of the magnetic core.
Retrospective
Pure Synthetic Music
It is remarkable that each progress in instrumental technique was followed almost immediately by a broadening of the musical inspiration of the composers. Thanks to sound synthesis, it becomes possible for inspiration to manifest itself at the cost of certain learning.
In fact, since we know how to record all known stamps on film, then reproduce them thanks to the photoelectric cell, nothing stands in the way of photographic recording, we replace in the sound player a strip created from scratch and the only thanks to our inspiration. This is what the German physicist Pfaenninger did, by drawing curves on a strip and then scrolling through this strip in an appropriate reader.
A second synthesis process was studied, in particular by the Italians Gennelli and Pastori. It is an electrical reconstruction of the human voice always by the process of dosing harmonics.
In this process, the generator is no longer followed by more than five filters corresponding to the fundamental emitted and to four higher harmonics. The generator is of the tube type, which makes it possible to vary the fundamental frequency.
This process only authorizes the creation of vowels, which can be produced with absolute purity.
Octave Transposition
When it comes to reproduced music, film or disc, it is possible, starting from the music performed by classical instruments, to create new timbres, more perfect than real timbres, also more pleasant, by the process of artificial transposition.
It was a Russian, Mr. Yankowski, who first had the idea of this transposition.
He had noticed that, in certain instruments, the timbre, particularly rich in a certain range, became nondescript, even unpleasant in others.
It is undeniable, for example, that the treble of the piano is infinitely drier than the medium or the bass.
On the other hand, the lightness of the violin on the chanterelle does not persist on the other strings.
By means of the recording, it becomes possible to transpose from one octave to the other a passage executed in the most pleasant range of an instrument. Suppose we wanted to get the 5 of the piano, already high, less pleasant than the 3 of 435 periods: we record the passage taking the octave of the 3 as a base, but, on reproduction, we will play the recording to the player four times faster than it was recorded. If on the recording, the movement has been slowed down four times, it will be found normal during reproduction, but the notes, rich in timbre, of the 3 will become the 5 sought.
In this way, there is much to seek and realize, because the artistic possibilities thus offered, to inspiration are considerable by combining the processes of sound synthesis.
Keyboard
During its evolution, the keyboard of an organ progressively went from 2 to 5 octaves. Today we consider the 5-octave 61-key keyboard (do 1 to do 6 ) as the generally adopted standard.